Innovations August 22, 2022 General Motors figured out how to keep autonomous taxis clean General Motors has filed for a patent on a new type of self-cleaning floor that could be used in its upcoming autonomous Cruise Origin taxi vehicle.
Lincoln August 18, 2022 Checkmate: Autonomous Lincoln is controlled by a chessboard The Lincoln L100 is a concept car designed as a preview of the brand's future electric vehicles and as a celebration of its 100th anniversary of joining Ford.
Jeep August 10, 2022 Jeep has reinvented its windshield wiper. Here’s how it works The new Clean Sweep: Jeep windshield wiper system channels water through the blades to spray it directly ahead of them making them more effective on dirt.
Safety August 3, 2022 GM’s hands-free Super Cruise driving system now works on Route 66 General Motors is rolling out an update to its hands-free Super Cruise driving system that will allow the feature to operate on Route 66 and other additional roads.
Nascar July 25, 2022 NASCAR reveals why Denny Hamlin's Pocono-winning car was disqualified NASCAR said the reason Denny Hamlin's and Kyle Busch's cars were disqualified at Pocono Raceway is because they had extra strips of material under their wraps.
Tires July 21, 2022 Goodyear is developing metal tires for moon buggies Goodyear has teamed up with General Motors and Lockheed Martin to develop a new metal tire for the lunar mobility vehicle that will service the Artemis mission.
Innovations July 12, 2022 Parallel parking may get a lot easier with this new steering tech ZF's EasySteer technology could allow vehicles to make sharp U-turns and pull into tight parking spaces by allowing the front wheels to turn up to 80 degrees.
Dodge July 9, 2022 Dodge reportedly working on a corn-powered muscle car Sources day Dodge is working on a new Challenger muscle car powered by an E85-capable V8 that could be rated at more than 840 horsepower from the factory.
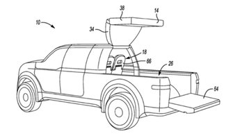
Pickups June 20, 2022 The next Ford F-150 could be a hatchback Ford has filed for a patent on a hatchback design that could be used on the next generation electric F-Series truck that will be built in Tennessee.
Tesla June 8, 2022 New Tesla Cybertruck with 'switchblade' windshield wiper revealed The latest version of the Tesla Cybertruck prototype has a novel windshield wiper design that appears to use a switchblade-style mechanism to extend its length.
Ford June 6, 2022 Actor Stephen Fry amazed by this useful car feature many people ignore British actor Stephen Fry has shared his revelation that a symbol located next to the fuel gauge in his car indicates which side the filler door is on.